Loaded With Potential: The Background, Benefits, and Drawbacks of Shotgun Houses
- Published on
- 7-8 min read
-
Melissa Holtje Contributing AuthorCloseMelissa Holtje Contributing Author
Melissa enjoys using her experience as a house flipper, investment buyer, and waterfront home owner to help buyers and sellers thrive in the housing market. When not scouting real estate, you’ll most likely find her at the beach.
Perhaps you’ve heard of a “shotgun wedding,” but have you heard of a “shotgun house?”
Thankfully, the two phrases really don’t relate at all. A shotgun house is not a quick or coerced sale (like a shotgun wedding!); it’s actually a term to describe a specific type of architecture: a long, narrow house structure.
Shotgun houses have a rich history and possibly an even brighter future. With the rise of minimalism, many homebuyers are opting for tinier homes. These nostalgic houses can be a great purchase, as long as buyers do their due diligence.
Courtney Kattengell, a New Orleans real estate agent and Designated Historic Homes Specialist, appreciates the value of these very special homes.
“It just takes a certain type of buyer,” she says. With her help, we’ll discover if that buyer could be you.

What is a shotgun house?
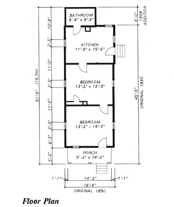
A traditional shotgun house features a rectangular footprint with a narrow frontage — sometimes only 12 feet wide. Many (but not all) have a deep, gabled front porch designed for relaxed socializing in the shade.

Because of the shotgun’s slim profile, interior rooms usually stack backward from the front door, one after the other, without utilizing any hallway. Historically, the living room would come first, followed by a bedroom or two. The kitchen would come last, with a rear exit to the backyard.
Before indoor plumbing became normalized, most shotgun houses didn’t have bathrooms, but as time went on, kitchen plumbing and bathrooms were added to the back.
Originally, shotgun houses were only one story tall, but as families grew and residential life changed, some homeowners added space vertically. Shotguns that have a second story over only a portion of the home are called “camelbacks.”

Some shotgun houses expanded horizontally over time, as well. An added hallway on the side of the shotgun house — which might be either covered or enclosed — is known as a “side gallery.”
Sometimes two shotgun homes are aligned together (like a duplex), sharing a front porch and middle wall. These residences are called “double-barrel shotguns.”
Why are they called shotgun houses?
Bruce Springsteen fans may recall references to shotgun houses, or “shotgun shacks” in his lyrics. And some may know that Elvis Presley was born in a shotgun house. But neither icon can claim the origin of the term.
The name comes from two possible sources: one linguistic and one legend.
Many believe that “shotgun” was a spin of the word “togun,” a Yoruba word for “house” or “gathering place” that may have derived from African American heritage. Others believe that “shotgun” referenced the linear layout — because if you opened all the doors in the home you could fire a shotgun straight through and not hit anything inside. Both interpretations may be correct!
Where do you find shotgun houses?
The original structure style comes from hot climates, where the tunnel-like configuration could help harness cooler breezes. Yoruba people in West and Central Africa, specifically, were known to build dwellings like this. Shotgun-style homes are also popular in Haiti.
In the United States, New Orleans is best-known for having an abundance of shotgun houses. Haitian refugees are said to have brought the “Creole cottage,” a variation of the shotgun house, into the New Orleans area in the late 1700s.
Shotgun houses can also be found in places like Atlanta, Nashville, Raleigh, Louisville, and other cities. Though they can also be found elsewhere in the country, it’s fair to say that true shotgun houses are found predominantly in the South. Their influence can be seen in Northern row houses or railroad apartments, though those styles differ slightly in function.
What styles do you see shotgun houses in?
Original shotgun houses were often crafted of basic wood siding with few windows and lifted on short stilts in areas prone to flooding. A simple design for simpler times!
In some neighborhoods, different architectural styles were adapted to enhance the appeal of the shotgun house over time. Today shotgun houses feature the following styles, and more:
Victorian: Ornate details like latticed rooflines and intricate railings make shotgun houses feel like a gingerbread cottage! Bright colors add extra charm.
Greek Revival: Porch columns and angular roofs create a pre-colonial style that can make shotgun houses feel grander in scale.
Italianate: Corbels (decorative wood pieces beneath the edge of the roof) and arched windows fuse Tuscan charm with shotgun sensibilities.
Eastlake: This style is reminiscent of the Victorian with less pizazz — for the shotgun homeowner who likes a sort of understated glam.
Classical Revival: Like Greek Revival but with smoother, simpler details.
Craftsman: Clean lines, deep colors, and stained wood accents make these shotguns feel updated while also remaining classic.
Modern: Chic, Californian styling makes these shotguns the ideal structure for minimalist living.
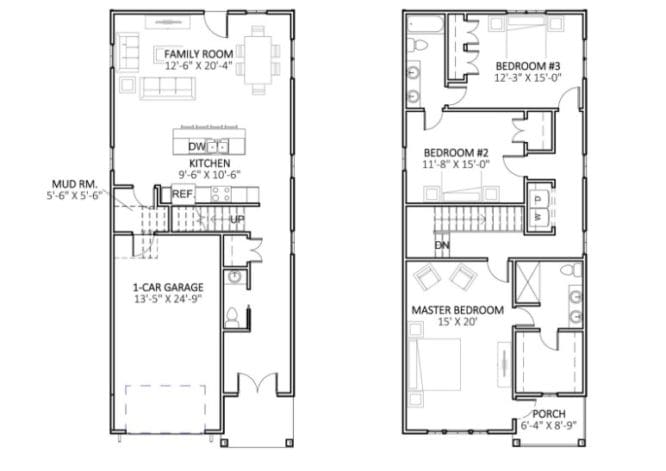
Shotgun-style homes fit well on any long, narrow lot. Modern shotgun layouts might place the family room and kitchen downstairs, with bedrooms upstairs.

What are the benefits of this type of house?
If you’re drawn to purchase a shotgun house, you’re in good company. Homebuyers consider shotgun homes beneficial for the following reasons.
They’re practical
Smaller homes with simpler construction can be easier to maintain, making them a practical choice for first-time homebuyers, retirees, or frequent travelers.
Smaller square footage means a lower price tag upfront, while also keeping expenses for renovations and upkeep low. A shotgun is a great alternative to a tiny home, in that it offers the same easily-managed lifestyle on a slightly bigger scale.
They’re efficient
Shotgun homes maximize every inch — functionality over frivolity — making them an ultra-efficient use of space. Every room has its purpose, and sometimes a dual purpose!
Shotguns are great in terms of energy efficiency as well. Often the ceilings are lofted to the rafters, allowing hot air to rise away from residents. And of course, that breezy quality remains — just open up the doors and let the cool air flow naturally from front to back!

They could be located close to ‘the action’
In urban areas, shotgun houses were constructed close together due to land scarcity. Cities draw people, and people need places to live. Narrow shotgun homes became a great way to house as many people as possible near the city center.
Today being close to city life remains just as valuable as it once was. Some buyers prioritize a location that’s within walking distance of the downtown scene or their place of employment. Shotgun houses may hold the key to convenience in those cases.
Kattengell says, “The shotgun home is a nice entry point for buyers to get into those high-demand areas.”
The scarcity of city-centered land also means that some shotgun homes may be situated to retain and increase their value. That equates to investment potential! Shotgun homeowners in some areas may enjoy steady home value appreciation. Talk to your real estate agent about historical and projected gains in your particular situation.
Some shotgun homes are located close to tourist hotspots, making them a great option for short-term rentals. For example, shotgun homes a couple of blocks away from the French Quarter in New Orleans bring in around $200 per night (or even more during Mardi Gras!).
They may save you money in taxes
There’s a myth that shotgun houses were built to avoid property taxes on road frontage. Narrow houses were easier on the pocketbook, according to lore. In reality, there’s no hard evidence that frontage tax was ever really a thing.
However, there is some indirect truth to the idea of shotgun house tax savings. Property taxes are based on assessed home values, which are influenced by appraisals. Home appraisers make lots of different adjustments to home value, one of which may be based on frontage. If so, that slim profile really may end up saving you little money.

What are the drawbacks of this type of house?
While shotgun houses have plenty of perks, there are a few downsides that you’ll want to consider before…jumping the gun.
They lack privacy
City-based shotgun homes tend to be close together, meaning you can expect very little separation from your neighbors. Inside, you’ll be living in close quarters with your co-habitants as well, a reality that Kattengell says may deter buyers with larger families.
They may require more maintenance
Shotgun homes rose in popularity in the 19th and early 20th centuries. That means the structure may be constructed of materials that are quite old. In general, older homes tend to require more maintenance as components wear out over time.
If you’re considering a shotgun house, have your real estate agent inquire about the original build date and the dates of any major updates, such as the foundation, systems, roof, trusses, or framing. And don’t skip the home inspection!
In fact, Kattengell recommends looking for an inspector who specializes in historic homes. “You get a better overview with them,” she says. “And they appreciate the history and the age of these homes.”
They might pose a lifestyle challenge
The interior layout of shotgun houses may not be as conducive to a modern lifestyle.
Homebuyers tend to gravitate toward open concept living and dining spaces; they like bedrooms with en-suite bathrooms. The sequential, interconnected rooms of original shotgun houses aren’t as appealing to everybody.
“Typically buyers don’t want to walk through kids’ bedrooms in the morning,” Kattengell says.
“So the fact that shotgun homes are laid out room-to-room-to-room does limit the buyer pool a little bit.”
The good news is, those design challenges can be overcome to reflect more modern tastes. HGTV’s Joanna Gaines showcased a shotgun home on her show, Fixer Upper in March of 2016. She reorganized the floor plan to include a bright, open kitchen that connected to the living room and added a second-story office. The renovation was just what that shotgun house needed to make the owners feel more at home.
They may be subject to historic home restrictions
In some cities, shotgun houses were torn down to make way for high-rise apartments or commercial buildings. Sometimes, historic home preservation societies stepped in to prevent them from being completely obliterated.
If the shotgun house you’re considering is in a historic district, there may be certain things that you cannot do as far as renovations. Societies may need to grant approval for everything from additions to paint colors. Be sure to have your real estate agent check for any historic home restrictions before purchasing.
Shotgun houses have the potential to be a great real estate purchase. With the right location and proper research, these charming houses could be a great place to call home.
Header Image Source: (artistmac / Flickr via Creative Commons Legal Code)